Описание
    
  
      
      
        
  
    
    Характеристики
    
  
      
      
        
  
    
    
        Отзывы
        
    
    
  
      
      
    
    
    Описание
    
  
        
            "RAM block" – система универсальных металлических корпусов – сварных и сборных, а также стоек управления. Во внутреннем пространстве шкафов размещается оборудование для систем автоматизации, мониторинга, управления, релейной защиты. Шкафы надежно предохраняют размещенные внутри устройства от внешних воздействий. Корпуса изготовлены из прочной стали толщиной 1,2 – 1,5 мм. Это позволяет размещать внутри тяжелое оборудование и обеспечивает степень ударопрочности IK 10. Двери выполняются из металла толщиной 1,5 – 2 мм. На внутреннюю сторону двери наносится покрытие из вспененного полиуретана, который повышает качество герметизации. Загиб кромки корпуса предотвращает попадание во внутреннее пространство шкафа влаги и мусора, а производственные отверстия имеют специальные заглушки, благодаря чему достигается степень пыле- и влагозащиты корпуса – IP 65/IP 66. 
Трехступенчатая автоматизированная система окрашивания обеспечивает корпусам прочное покрытие, устойчивое к сколам и царапинам. Аксессуары позволяют создавать на основе базовых комплектующих сложные индивидуальные решения. 
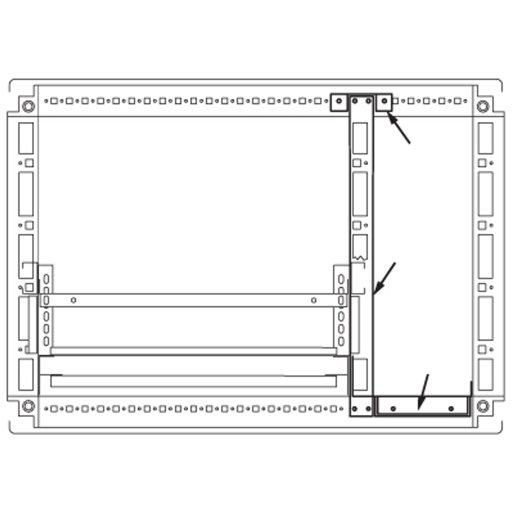
Для организации секционирования применяются различные аксессуары, входящие в состав системы. Комплект для создания кабельного отсека применяется для организации кабельного ввода в собранном шкафу DAE или CQE. Высота шкафа - 2000 мм, глубина - 600 мм.
          
        
    
    Характеристики
    
  
        Цвет
                    
                    
                      
                        Серый
                      
                    
                  Ширина, мм
                    
                    
                      
                        200
                      
                    
                  Материал
                    
                    
                      
                        Сталь
                      
                    
                  Высота, мм
                    
                    
                      
                        2000
                      
                    
                  Отделка поверхности
                    
                    
                      
                        С порошковым покрытием
                      
                    
                  С кабельным вводом
                    
                    
                      
                        Нет
                      
                    
                  Установочная ширина для монтажа в шкафу, мм
                    
                    
                      
                        200
                      
                    
                  Установочная глубина для монтажа в шкафу, мм
                    
                    
                      
                        600
                      
                    
                  Количество модулей (юнитов) в высоту
                    
                    
                      
                        1
                      
                    
                  С замком
                    
                    
                      
                        Нет
                      
                    
                  Объем
                    
                    
                      
                        0.0437
                      
                    
                  Бренд
                    
                    
                      
                        DKC
                      
                    
                  Страна производства
                    
                    
                      
                        Россия
                      
                    
                  Тип упаковки
                    
                    
                      
                        Штука
                      
                    
                  
              Все характеристики
            
            
          
    
    
        Отзывы
        
    
    
  
        Отзывов еще никто не оставлял
                
              