Описание
Характеристики
Отзывы
Описание
"RAM block" – система универсальных металлических корпусов – сварных и сборных, а также стоек управления. Во внутреннем пространстве шкафов размещается оборудование для систем автоматизации, мониторинга, управления, релейной защиты. Шкафы надежно предохраняют размещенные внутри устройства от внешних воздействий. Корпуса изготовлены из прочной стали толщиной 1,2 – 1,5 мм. Это позволяет размещать внутри тяжелое оборудование и обеспечивает степень ударопрочности IK 10. Двери выполняются из металла толщиной 1,5 – 2 мм. На внутреннюю сторону двери наносится покрытие из вспененного полиуретана, который повышает качество герметизации. Загиб кромки корпуса предотвращает попадание во внутреннее пространство шкафа влаги и мусора, а производственные отверстия имеют специальные заглушки, благодаря чему достигается степень пыле- и влагозащиты корпуса – IP 65/IP 66.
Трехступенчатая автоматизированная система окрашивания обеспечивает корпусам прочное покрытие, устойчивое к сколам и царапинам. Аксессуары позволяют создавать на основе базовых комплектующих сложные индивидуальные решения.
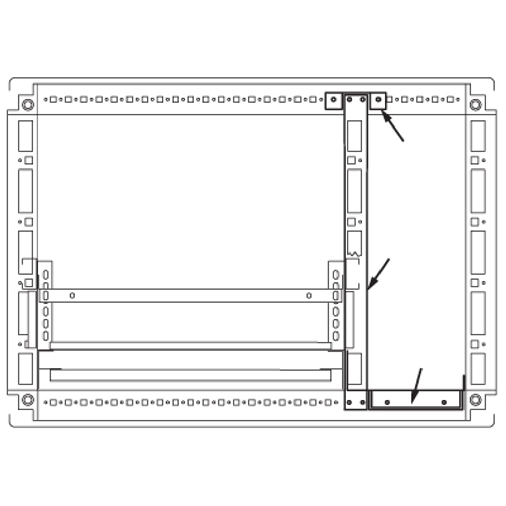
Для организации секционирования применяются различные аксессуары, входящие в состав системы. Комплект для создания кабельного отсека применяется для организации кабельного ввода в собранном шкафу DAE или CQE. Высота шкафа - 2000 мм, глубина - 400 мм.
Характеристики
Цвет
Серый
Ширина, мм
200
Материал
Сталь
Высота, мм
2000
Отделка поверхности
С порошковым покрытием
С кабельным вводом
Нет
Установочная ширина для монтажа в шкафу, мм
200
Установочная глубина для монтажа в шкафу, мм
400
Количество модулей (юнитов) в высоту
1
С замком
Нет
Объем
0.0437
Бренд
DKC
Страна производства
Россия
Тип упаковки
Штука
Все характеристики
Отзывы
Отзывов еще никто не оставлял
